APL-310N系列限位开关

技术参数

产品型号:APL-310N

防护等级: IP67/NEMA4&4X(标准) ,IP68(选项)

环境温度: -20℃~80℃
双线接口:2×NPT1/2、PF1/2”、M20、PG13.5
接线端子: 8(0.08-2.5mm2)
位置指示:关:红、开:黄
开关:机械开关×2\接近开关×2
外部涂层:聚酯涂层(黑或其它)
转轴:标准轴(17MM)、加长轴(根据要求)

销售热线:

023-67537233

产品详情

产品概述

      APL-310N限位开关属于机械式限位开关里的一种,阀门限位开关(阀门回讯器、回信器)是自控阀门位置显示和信号反馈的一种现场仪表,用以将阀门的开启或关闭位置以开关量(触点)的信号输出,被程控接受或计算机访样,确认后执行下一程序。该产品外观优美、机构紧凑、质量可靠、输出性能稳定、免维护等特点。是用于气动阀门上反馈开关信号的一种控制仪表。通过反馈信号被接收器追踪,能让操作人员清楚的知道阀门运作的情况,在一些苛刻工况的自动控制系统中能起到一个远程控制和报警指示的作用。


产品特点

1、压铸铝合金壳体、粉末涂层,外型美观,质量可靠。
2、开关位置可由指示器清楚辨识。
3、快速置位凸轮,通过花键轴和弹簧安装,不用工具即可方便调整。
4、多接点端子排,有8个标准接点,接线安全、方便。
5、标准的电线接口。
6、防脱螺栓,拆装时螺栓附在上盖上不会脱落。
7、安装方便,不锈钢主轴连接部位及安装支架均符合NAMUR标准。



技术参数

型号 APLXC-3N系列 APLXC-4N系列 APLXC-5N系列
标准 选项 标准 选项 标准 选项
壳体 IP67 IP67 EexdⅡBT6 Gb
(EN50014/50018)
IP67 EexdⅡCT6 Gb
(EN50014/50018)
温度 -25~85℃
接线端口 2×1/2NPT PT1/2
PF1/2
M20,PG13.5
2×3/4NPT PT3/4
PF3/4
2×3/4NPT PT3/4
PF3/4
接线端子 8 9~24 8 9~24 8 9~24
符合标准    图片.png
位置指示 0~90° 0~180° 0~90° 0~180° 0~90° 0~180°
开-黄;关-红
微型开关 机械式、感应式、弹簧接近式
电位计 1K ohm(0~5K ohm, 0~10K ohm)
电流反馈 4~20mA(20~4mA)


型号说明

APLXC    0     0     0     0   

型号 壳体 微型开关   支架
APLXC  3  气候防护型(IP67)
 10   2-SPDT(机械式)  N  指示器外壳
为螺栓固定

  A  
     
 图片.png
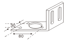
普通型限位开关用(侧面安装)
30×80 H:20~30
 4  隔爆型(EexdⅡBT6 Gb)  11  3-SPDT(机械式)  
 5  隔爆型(EexdⅡCT6 Gb)  12  4-SPDT(机械式)  
   13  2-SPST(机械式)    B  
图片.png   
普通型限位开关用(侧面安装)
30×130 H:30~50
   14  2-DPDT(机械式)  
   15  2-SPDT+电位计(机械式)  
   16  2-SPDT +电流反馈
(4-20mA)(感应式)
   C  
图片.png   
隔爆型限位开关用(底面安装)
30×80 H:30
   20  P&F.NJ2-V3-N(感应式)  
   21  Autonics. PSI7-5DNU(感应式)  
   22  P&F. NJ412GM-N(感应式)    D  
图片.png 
隔爆型限位开关用(底面安装)
30×130 H:30
   23  NBB2-V3(感应式)  
   30  一般型(弹簧接近式)  
   31  高温型(100℃)(弹簧接近式)   H:指气动执行装置上部输出轴的高度